1. 青青草成人网,青青草激情视频,青青草污网站APP,青青草激情在线视频

      欢迎访问江苏青青草成人网机械制造有限公司官网网站!

      网站地图在线留言收藏本站中文站English

      客户咨询热线:18944828889
      0523-84888996

      熔糖、真空渗糖系统

      当前位置:首页 > 产品中心 > 熔糖、真空渗糖系统 > 熔糖、真空渗糖系统

      熔糖、真空渗糖系统
      • 熔糖、真空渗糖系统

        熔糖、真空渗糖系统

      • 熔糖、真空渗糖系统

        熔糖、真空渗糖系统

      • 熔糖、真空渗糖系统

        熔糖、真空渗糖系统

      • 熔糖、真空渗糖系统

        熔糖、真空渗糖系统

      • 熔糖、真空渗糖系统

        熔糖、真空渗糖系统

      • 熔糖、真空渗糖系统

        熔糖、真空渗糖系统

      • 熔糖、真空渗糖系统

        熔糖、真空渗糖系统

      产品实拍
      产品详情



      生产步骤
      一、溶糖系统
      1、先通过外部设备向溶糖罐中加入一定量的纯净水,加热端子接通电源加热,使纯水加温到100℃,并同时起动电机进行搅拌;
      2、再将蔗糖通过人工操作进入溶糖罐中,使蔗糖在纯水中溶解;
      3、蔗糖溶解后就可打开溶糖罐下面的阀门1,使糖汁流入饮料泵,再分别打开阀2,起动饮料泵使其工作,在饮料泵离心力的作用下,通过双联过滤器,使糖汁得到充分的过滤,分别流入渗糖系统中;



      电加热调配罐

       一、概述
      该机适用于食品、饮料、制药、乳品、日化、生物工程等领域的流体物料的调配。
      二、组成部分及工作原理
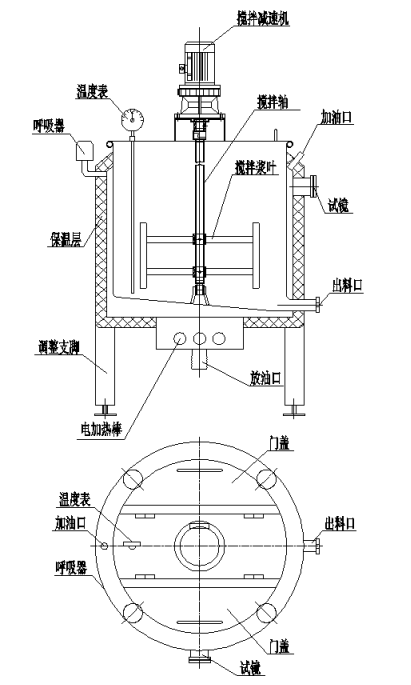
      示意图:


         该机主要由罐体、搅拌减速机、搅拌轴、搅拌桨叶、调整支脚、保温层、出料口等重要部分组成。其主要工作原理:从加油口中加入水或者导热油(直到能从试镜看到液体为止),罐体里面加入物料或者纯水(严禁干烧),接通电加热棒电源,减速机带动搅拌轴转动,将物料均匀地混合。该机整体采用不锈钢制作,结构简单、操作方便,具体可根据客户要求设计储存容积量,也可设置半开门式或对开门式。
      四、使用与维护
      1、使用前,将机器放置水平,再检查机器连接部位是否紧固;
      2、清洁罐子内外,进料口与相关的设备的出汁口连接,出料口处安装控制阀并连接至下一道工序;
      3、接通减速机电源,检查一下搅拌轴的旋转方向是否与方向指示牌一致并空转运行两分种,确认机器运行正常并无异响,然后切断减速机电源;
      4、关闭出料口阀门,再将料液从进料口流进罐体内。
      5、当料液达到一定高度时(根据所需要加入辅料的比例计算,并且要求加入辅料后总高度不要超过罐体高度的4/5),停止进料液,打开门盖加入规定的辅料;
      6、运行减速机,转动搅拌轴,进行混合料液。
      7、搅拌浆叶混合料液时,当发现辅料与料液无明显区分时,即可切断减速机电源;
      8、打开出料口阀门,即可放出料液。
      9、清洁调配罐时,拆去罐子的进料口和出料口连接,关闭出料控制阀,从进料口补入清水至罐体高度4/5时,接通减速机电源进行混合清洗,也可以在切断减速机电源的情况人工打开罐盖用刷子进行刷洗,清洗好后,打开出料控制阀放出污水。放出污水后,关闭出料控制阀,再进入清水清洗。反复几次就可以清洁干净。zhi后用干净的抹布擦去残留的水渍。
      10、定期检查减速机润滑情况,并更换润滑油。(操作方法见减速机说明书)
      11、长期不使用搅拌罐时,务必清洗干净罐子内外,保持干燥、洁净。




      电加热真空浸提罐
      一、概述
      真空浸提罐,具有节能、消声、耐腐、生产能力强,清洗方便等优点,广泛用于制药行业、食品、化工、饮料等工业部门,作为浸取物料内成份加热、冷却、保温、杀菌处理或贮藏浆液的须设备。
      二、组成部分及工作原理


      该机主要由上盖、筒体、保温层、调整支脚、电加热棒、浸提蓝、真空泵、水箱等重要部分组成。
      其主要工作原理:从加油口中加入水或者导热油(直到能从试镜看到液体为止),水箱中加满水;打开上盖锁紧开关,旋转支架将上盖移到一边,吊出浸提蓝,装满物料后放入罐内,加入糖液,糖液默入浸提蓝后停止加入糖液;将上盖移动到筒体上方,锁紧开关,关闭进糖液阀门;启动真空泵及电加热就可以工作。
      三、使用与维护
      1、机器须安装水平,并用地脚螺钉固定。
      2、紧定好整机上各部螺栓。清洗整机内外,保持洁净。
      3、接通真空泵电源,查看泵轴旋转方向是否与旋向指示牌一致。
      4、进料前,接通真空泵,运行一段时间,查看负压表压力是否稳定,有没有漏气现象。
      5、没有漏气现象,关掉真空泵,打开放气阀,打开罐盖,拿出提篮,将物料放入提篮中,把提篮放到管内,往管内输送糖液,直到糖液浸没物料。
      6、打开真空泵抽真空,加热端子接通电源加热。
      7、一段时间后,关闭电源,关闭真空泵,打开放气阀,等冷却后打开罐盖,拿出物料。
      8、使用完后,务必清洗干净整机内外,使其保持洁净。
      9、经常检查真空泵是否过载发热,发现不良现象,须与维修人员联系。


      我要定制

      定制产品类型:熔糖、真空渗糖系统

      • 联系人
      • 联系电话
      • 电子邮件
      • 验证码 点击刷新验证码
      产品推荐
      • 带式青青草激情视频-大型全自动立式青青草激情视频

        带式青青草激情视频-大型全自动立式青青草激情视频

      • 螺旋青青草激情视频

        螺旋青青草激情视频

      • 破碎青青草激情视频组

        破碎青青草激情视频组

      • 双道青青草激情在线视频机

        双道青青草激情在线视频机

      • 单道青青草激情在线视频机

        单道青青草激情在线视频机

      上一页:螺旋精制机
      下一页:通芯去核机
      网站地图